IPG Automotive Forums
IPGDriver + Feedforward
Coding & Integration
carmaker
geantae
5 August 2025 02:48
1
image
1067×797 27.7 KB
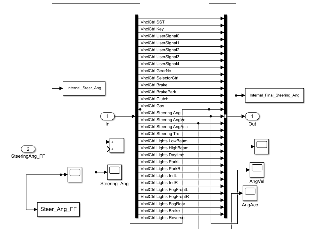
"I’m trying to add a steering feedforward term to the internal IPGDriver controller in the VehicleControl block in CarMaker. Is this possible?"